汽车槽车装卸站的配管
配管原则
1 槽车装卸站由罐区、泵组和装卸台、鹤管组成,应按“化工装置管道布置设计工程规定”(HG/T 20549.2)中第1.1.2条所述的设计原则进行管道布置。
2 装卸站的布置及水消防或泡沫消防系统应符合《石油化工企业设计防火规范》(GB 50160)的规定。
3 装卸站应设软管站,操作范围以软管长15m为半径,用于吹扫、冲洗、维修和防护。
4 在装卸酸、碱、氨等介质的区域,应在适当位置设置洗眼器和安全淋浴。
5 对于输送过程中易产生静电的易燃易爆介质的管道,应有完善的防静电措施(如法兰之间设导电金属跨接措施,管道系统及设备的静电接地等)。
6 对于高寒地区,要注意采用正确的防冻措施,如伴热保温等。
7 装车计量,可选用流量计就地计量或用地中衡称量。流量计应布置在槽车进出不会碰撞的地方。设防火围堤者,流量计应布置在围堤之外。

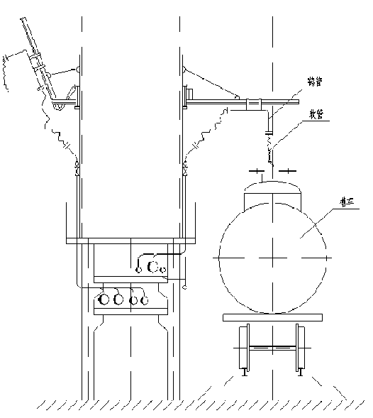
鹤管布置在装车台中心时汽车槽车装车台的布置和配管
1 装卸站总管的布置
1) 装卸站总管布置与汽车槽车的型式有关。槽车的装卸口在顶部时,宜采用高架布置管道;装卸口在车的低位时,宜采用低架布置型式。
2) 鹤管阀门设在地面或装卸台上,应方便操作,不阻碍通道。对易燃可燃物料管道,如果P&ID图上有要求,应将降切断阀安装在距装卸台10m以外的易接近处。
2 罐周围的配管
1) 与罐接口相连的管道必要时采用柔性连接,如选用金属软管。
2) 靠近罐的第一个管架应与储罐保持一定距离,并应是可调节的,或加弹簧支托以适应储罐基础可能的沉降。
3) 对输送沸点较低的物料管道,应与储罐的气相管连通,同时应考虑温度变化可能带来的物料热膨胀的影响,以及突然泄压时所产生的反力,故需要设置坚固的支架。
4) 不管物料流向如何,吹扫口的位置应设置在能使管道中物料吹向储罐的部位。
3 泵的配管
1) 对于装车场合,除利用自然地形将储罐设在高处自流装车外,均采用泵输送装车。通常将泵进口标高布置在能够自动灌泵的位置(应满足泵的NPSH的要求)。
2) 泵的吸入管道尽可能短。当出口在泵上方时,要设支架,以避免泵直接承受管道阀门的重量。
3) 泵的配管要求详见公众号文章“泵的配管”,待发表。
4 鹤管的配置
1) 鹤管种类很多,有固定式、气动升降式、重锤摆动式、万向式等,能适应各种情况,设计时可视具体的装卸要求选用产品。
2) 在敞开式装车时,选用液下装车鹤管,以减少液体的飞溅。
3) 不允许放空的介质应采用密闭装车,鹤管的气相管应与储罐气相管道相连,将排放气排入储罐。该气相管避免出现下凹袋形,以防凝液聚集。当配管不可避免出现下凹袋形时,则必须在袋形最低点处设集液包及排液管,并按工艺要求收集处理,或对集液包局部伴热,使凝液蒸发,避免产生液封现象。无毒害、非易燃易爆的物料装车时,可将放空管引出顶棚排放。
4) 当采用上卸方式卸车时,一般是将压缩气体通入槽车,用气相加压法将物料通过鹤管压入储罐中。
鹤管布置在装车台边缘时汽车槽车装车台的布置和配管
铁路槽车装卸站的配管
1 铁路槽车装卸站的配管应符合上节汽车槽车装卸站配管原则第1~6条款要求。
2 铁路槽车装车的计量,可以在装车台上面或下面安装精度较高的流量计就地计量。也可以用“动态电子轨道衡”进行自动计量。就地安装的流量计应靠近鹤管切断阀。
1 装卸站总管的布置
1) 铁路槽车装卸站管道有高架布置和低架布置两种型式。管架立柱边缘距铁路中心线应不小于3 m。管架跨越电气化铁路时,铁轨顶面至管架梁底的净高应不小于6.6 m,管架跨越非电气化铁路时,铁轨顶面至管架梁底的净高应不小于5.5 m,且跨越铁路的管段上不允许装阀门、法兰及其它机械接头等管道附件。
2) 采用自流下卸的卸车站,管道采用埋地或管沟布置。当地下管道穿越铁路时,应加保护套管。
2 罐的配管应同汽车槽车配管中关于罐的配管的规定。
3 泵的配管同汽车槽车配管中关于泵的配管规定。
4 鹤管的配置
1) 铁路槽车装车鹤管分大鹤管和小鹤管两种。
大鹤管有升降式、回转式和伸缩式。升降式鹤管通常布置在两股铁路专用线两侧;回转式鹤管布置在两专用线中间;而伸缩式鹤管则高架于每段专用线中间。鹤管的配置应确保其行程臂长,行车小车及各附件都不能与各种槽车的任何部位相碰,并能满足各种类型铁路槽车的对位灌装。
2) 鹤管有平衡锤式、机械式和气动式等。为方便操作,两排小鹤管—般都布置在两股铁路专用线中间,可令整列车一次对位灌装。
3) 对易燃液体管道,如果P&ID图上有要求,应将切断阀安装在距装卸台10m以外的易接近处。
4) 对于密闭装车鹤管,应将其气相管与储罐的气相管相接,其具体要求应符合2.4条第3项的规定。
5) 铁路槽车卸车分上卸和下卸两种方式。
上卸方式所采用的鹤管与密闭装车鹤管相同。一般采用压缩气体加压法卸车,也可以通过真空泵卸车。
下卸方式一般用于原油、重油的卸车。该种铁路槽车有下卸口和保温夹套。
下卸鹤管是单回转套筒式,带快速接头,可以与铁路槽车下卸口连接。鹤管与汇油管用垂直连接或向下45°连接。汇油管或集油管安装坡度一般为0.8%。为防止重质油品凝固,在汇油管的端部设DN50的蒸汽吹扫管,汇油管、集油管均需蒸汽伴管加热。零位罐要设通气管、阻火器、透光孔、人孔及液位指示器。
铁路槽车装卸站的配管实例

单侧铁路槽车的装车台的布置和配管

双侧铁路槽车的装车台的布置和配管